11. Обслуживание электрооборудования

Общие сведения

После наладки и пуска в работу начинается период эксплуатации электрооборудования. В этот период на каждое изделие начинаются воздействия, связанные с его работой в системе элементов и устройств, с которыми оно взаимодействует. Степень воздействий зависит от качества напряжения питания, от качества других элементов, с которыми данное изделие связано электрически или механически. Например, электродвигатель могут вывести из строя несимметричное трехфазное напряжение питания, заклиненная машина, которая им приводится во вращение, и т. д. Неблагоприятные условия внешней среды влияют на состояние изоляции, состояние токоведущих частей и несущих деталей.

Могут быть различные механические воздействия, нарушающие надежность электрооборудования.

Для сохранения надежности работающего электрооборудования необходимо его обязательное обслуживание специальным персоналом. Обслуживание включает технические осмотры, технические уходы, различные виды ремонтов. Для всех этих мероприятий составляются графики их проведения. Но недостатком графиков является то, что они могут быть только на бумаге, потому что различные непредвиденные ситуации при обслуживании оборудования могут нарушить график.

Действенным методом для сохранения надежности электрооборудования является получение информации о его работе в любой момент и действия в соответствии с этой информацией. Средством получения информации является осмотр электрооборудования.

Осмотр электрооборудования

Большое значение в предупреждении отказов оборудования имеет осмотр его грамотным специалистом с целью выявления необходимости ремонта. Осмотр при отказе оборудования производится с учетом имеющихся признаков. Например, при появлении признаков ненормальной работы электродвигателя — нагрев, ненормальный шум — нужно проверить всю цепь питания, включая его зажимы, и если все исправно, то проверить механические детали двигателя и приводимой им машины.

При нечеткой работе автоматики нужно проверить всю систему автоматического регулирования данного объекта.

Осмотр цепи питания оборудования производится после присоединения к этой цепи новых электроприемников, после коротких замыканий и загораний и т. д.

Осмотр обязателен после длительных перерывов в работе электрооборудования, перед его включением в работу.

При осмотре записываются сведения о необходимой замене аппаратов или их деталей, о необходимости сушки электродвигателей, при этом осмотр сопровождается измерением сопротивления изоляции.

После осмотра подготавливается все необходимое для замены и ремонта электрооборудования и производится его ремонт.

Устранение видимых неисправностей

Отказы могут быть обусловлены видимыми и невидимыми неисправностями. Видимые неисправности выявляются во время осмотра электрооборудования. Такими неисправностями обычно являются нагрев зажимов аппаратов и зажимов присоединения электрических машин, нагрев мест касания ножей и контактных стоек в рубильниках, нагрев контактов аппаратов. Этот нагрев может сопровождаться обугливанием пластмассовых корпусов и изоляции проводов, пробоем изоляции.

В электронных устройствах обычно сгорают детали из-за малой их надежности или большого тока в цепи.

Видимые неисправности устранить не сложно, но нужно выяснить их причины, так как эти причины могут привести к неисправностям и отказам и после ремонта.

При устранении нагрева зажимов обычно не приносит пользы подтягивание их гаек, так как нагрев происходит из-за большого сопротивления при окислении деталей. Зажим нужно разбирать и производить чистку от окислов его деталей. Причем, если зажим находится на болте или шпильке, то окисляется и другой конец болта или шпильки, и если на другом конце есть соединение с токоведущей частью, то нужно разбирать все соединения на болте или шпильке.

При нагреве зажима в рубильнике обычно окисляется нож и контактная стойка, и переделка зажима не поможет, поэтому нужно менять все окисленные детали.

То же может быть и при окислении контактных групп и в аппаратах другой конструкции.

При нагреве зажимов или неподвижных контактов в автомате обычно выгорают места крепления деталей в пластмассе, поэтому автомат нужно менять. Если у автомата выгорела одна фаза, то его можно использовать в двухфазных цепях.

Поиск и устранение невидимых неисправностей

Часто причины неисправностей различных устройств и систем являются невидимыми, и нужно начинать с их поиска. Поиск причин можно начать с разборки устройств и проверки всех деталей, соединительных линий и т. д., но это потребует затраты большого количества времени и сил, и может быть бесполезно. Поэтому в таких случаях применяется логический подход в поиске неисправностей, основанный на рассуждениях. Этот подход требует определенной квалификации персонала. Квалификацию нужно понимать в широком смысле, учитывая общую культуру человека, его психическую устойчивость, знания в технике и по специальности, опыт предыдущей работы. Необходимы знания устройства и принципа работы установки или системы.

Так как нельзя держать в уме сведения о работе всех установок и устройств, то нужно пользоваться инструкциями по их эксплуатации.

О взаимосвязи различных устройств в установке, различных элементов в устройстве дают представление различные схемы, прилагаемые к инструкции. Может быть несколько схем одной и той же установки. Чтобы знать, какой схемой пользоваться данном случае, рассмотрим, какие схемы существуют.

По. виду применяемой энергии в установке, которую отображает схема, схемы могут быть электрические, пневматические, гидравлические, смешанные и другие. Мы будем рассматривать только электрические схемы.

Типы электрических схем

Приведем некоторые понятия для определения составных частей изделий и установок.

Элемент — часть изделия, которая не может быть разделена на части, имеющие определенное функциональное значение (резистор, конденсатор, микросхема, катушка, контакт и т. д.).

Устройство — совокупность элементов, представляющих единую конструкцию (плата, блок, шкаф и т. д.).

Функциональная группа — совокупность элементов, не объединенных в единую конструкцию, но выполняющих в изделии определенную функцию (цепи управления, цепи автоматики).

Функциональная часть — любая из рассмотренных частей, если она выполняет в изделии определенные функции.

Структурная схема содержит самые общие сведения об изделии, где показаны его функциональные части, их назначение и взаимосвязь. Структурная схема применяется при проектировании изделия, а также может применяться для уяснения принципа действия устройства.

Примером структурной схемы может служить схема лабораторного термостата для воды на рис. 11. 1, принципиальная схема которого показана на рис. 11. 2.

111.jpg

Рис. 11. 1. Структурная схема лабораторного термостата:

ЗУ — задающее устройство, Д — датчик, ИУ — измерительное устройство, СУ — суммирующее устройство. У, БГ — усилитель и блокинг-генератор, К — ключ, УИ — устройство исполиительное, РО — рабочий орган, ОР — объект регулирования, БП — блок питания, В — выпрямитель, С — стабилизатор.

Функциональные части изделия показаны прямоугольниками, внутри которых указаны названия этих частей. Прямоугольники расположены в порядке передачи сигнала между частями, направление сигнала показано стрелками. Источник

питания, состоящий из выпрямителя и стабилизатора, показан отдельно.

Принципиальная схема содержит все элементы устройства и все связи между ними. Элементы обозначены согласно принятым условным обозначениям (прил. 1). Принципиальные схемы используются при детальном изучении устройства, при его настройке, наладке и поисках неисправностей. Но принципиальные схемы не всегда удобны для изучения работы сложного устройства, потому что не дают возможности выделить отдельные функциональные группы и связь между ними, т. е. они являются излишне подробными.

112.jpg

Рис. 11.2. Принципиальная схема лабораторного термостата (типономиналы элементов схемы приведены в прил. 5).

Функциональные схемы занимают промежуточное положение между структурными и принципиальными схемами и совмещают в себе их особенности. В этих схемах части устройств, которые можно рассматривать как единое целое, обозначают прямоугольниками, а усилители могут изображаться в виде треугольников. Элементы, необходимые для уяснения работы схемы, изображаются как на принципиальной схеме.

Примером функциональной схемы является схема системы управления серии САУНА погружными насосами для воды, показанная на рис. 11.3, а, принципиальная схема этой системы показана на рис. 11.3, б.

Блок логики получает сигнал при местном включении на-

113.jpg

Рис. 11.3. Схемы системы управления погружным насосом:

а) функциональная; б) принципиальная (перечень элементов схемы приведен в прил. 5).

coca от тумблера, при автоматическом включении насоса — от датчика уровня, при дистанционном включении — от реле РИВ и РИО.

В данном случае для понимания принципа работы системы не нужно знать принципиальную схему блока логики и автоматического выключателя, поэтому они обозначены прямоугольниками. Кроме того, как функциональные части системы в прямоугольники заключены пускатель КМ, тумблер SA, датчик уровней, блок реле дистанционного включения, шкаф управления.

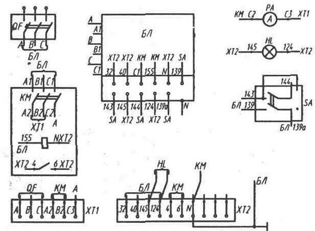
Схема соединении представляет собой чертеж, показывающий примерное расположение функциональных частей, провода, подходящие к частям, и их маркировку. Чтобы не загромождать чертеж, провода показаны не полностью, а только их концы. На рис. 11. 4 показана схема соединений станции управления системы САУНА. Прямоугольниками показаны места расположения функциональных частей станции, в том числе колодок зажимов. Данные схемы могут применяться при отыскании неисправностей и при замене элементов во время ремонта, так как по маркировке легко проследить провода и назначение зажимов.

114.jpg

Ряс. 11. 4. Схема соединений станции управления погружным насосом.

Схема внешних соединений показывает все части системы и провода, их соединяющие, с маркировкой мест присоединения — рис. 11.5. Схема полезна при монтаже системы на месте установки, при замене частей системы во время ремонта.

115.jpg

Рис. 11.5. Схема внешних соединений станции управления погружным насосом.

Электромонтажные схемы применяются при производстве электронных устройств. На схемах обозначаются все детали, провода, кабели, жгуты, приводятся все данные, необходимые для монтажа устройства.

При монтаже проводки и электрооборудования в производственных, общественных и жилых помещениях применяются схемы проводок на планах этих помещений. На схемах условными обозначениями показываются различные устройства и установочные изделия и связывающие их провода и кабели. На рис. 11.6 показана простейшая схема проводки в комнате на плане этой комнаты. Условные обозначения проводок на планах приведены в прил. 1.

116.jpg

Рис. 11.6. Схема проводки на плане комнаты. 1 — щиток со счетчиком и защитой, 2 — коробка ответвительная.

В однофазной проводке соединения проводов, идущих к отдельным установочным изделиям, производятся в соединительных коробках. Если эти соединения произведены неправильно, то при включении приемников энергии они могут не работать, или работать при самовключении, в патроне светильника всегда может быть фаза и т. д. Это затрудняет и поиски неисправности. Поэтому важно знать принцип соединения проводов в коробках при однофазной проводке, что показано на рис. 11.7.

117.jpg

Рис. 11.7. Схема соединений при однофазной проводке.

Фазный провод из коробки идет через выключатель на патрон светильника к его центральному контакту. Нулевой провод идет минуя выключатель на другой контакт патрона. К розетке идут фазный и нулевой провода. Если для защиты используются резьбовые предохранители, то подходящие к ним провода подходят к центральным зажимам, а отходящие провода присоединяются к зажимам резьбы. При защите автоматами подходящие провода присоединяются к неподвижным контактам автоматов. Соединение проводов в коробках необходимо производить винтовыми зажимами. Как показывает практика, соединения скрутками могут нагреваться, что приводит к нагреву проводов, подходящих к коробке, и обугливанию их изоляции в месте ввода в коробку, загоранию материалов отделки стен, если они горючие. Также нужно заранее проверять плотность затяжки винтов в установочных изделиях, зажимов присоединения проводов, плотность вхождения вилок в розетки, потому что при любых слабых соединениях может быть нагрев изоляции, материала корпусов изделий и их загорание.

Пример поиска неисправности в электроустановке

Поиск неисправности произведем на основе части принципиальной схемы, относящейся к одному двигателю (рис. 11.8).

118.jpg

Рис. 11.8. Часть принципиальной схемы электроустановки (перечень элементов схемы приведен в прил. 5).

Схема содержит силовую цепь и цепь управления. В силовой цепи показаны автоматические выключатели QF1 — общий и QF2 в цепи двигателя, пускатель КМЗ, двигатель МЗ, реле тепловые КК.3, реле максимального тока КЗ.

В цепи управления используется напряжение 220 В, защита осуществляется автоматическим выключателем SF. Напряжение в цепь управления подается контактом реле управления КУ, которое включается кнопкой SB1 и выключается кнопкой SB2. Далее цепь управления разветвляется: один провод идет к выключателю SA1, который имеет два положения — «Работа» и «Наладка», при работе он включен, а при наладке отключен, что показано на схеме. Второй провод идет к выключателю SA2, который имеет четыре положения, и для данного двигателя выключатель включен в положении 2, т. е. при наладке.

Показана цепь катушки пускателя КМЗ, который включается кнопкой SB3, отключается кнопкой SB4, после включения кнопка шунтируется блок-контактом пускателя КМЗ. Для защиты двигателя в цепи катушки имеется контакт ККЗ реле теплового, контакт КЗ реле максимального тока и контакт SQ конечного выключателя для защиты двигателя при аварийном режиме. В рабочем режиме ток катушки пускателя идет через блок-контакты пускателей КМ1 и КМ2, которые должны быть включены первыми по условиям технологического процесса.

Допустим, оператор сообщил, что не включается двигатель МЗ. Сначала нужно лично убедиться в этом, нажав на кнопку SB3. Если двигатель не включается, то нужно проверить, включено ли реле управления КУ, проверить положение переключателя SA 1, который должен быть в положении «Наладка». То же относится и к переключателю SA2, так как в данном случае идет опробование одного двигателя. Если двигатель не включается при включении реле КУ и правильном положении переключателей, то проверка продолжается, что представлено для наглядности логической схемой на рис. 11.9.

Далее нужно проверить, работает ли пускатель. При работающем пускателе нужно проследить прохождение напряжения с выхода пускателя до двигателя. Сначала нужно проверить наличие напряжения на выходе пускателя между фазами двухполюсным индикатором. Однополюсный индикатор может показать напряжение и при отсутствии его в одном или двух проводах, так как напряжение может появиться, пройдя обмотки двигателя и возвратившись к пускателю, если оно есть только в одном проводе. Поэтому при проверке однополюсным индикатором нужно отсоединить провода на выходе пускателя.

Если есть напряжение на выходе пускателя, то нужно проверять напряжение на входе двигателя, т. е. на его зажимах, двухполюсным индикатором, а при отсутствии двухполюсного индикатора — однополюсным в каждом проводе при его отсоединении от двигателя.

Если напряжение на зажимах двигателя есть, а он не реагирует, т6 двигатель вышел из строя.

Если на выходе пускателя нет напряжения в одном или нескольких проводах, то нужно проверить силовую цепь до пускателя. При наличии напряжения на входе пускателя нужно проверить сам пускатель.

При наличии напряжения на выходе пускателя и его отсутствии на зажимах двигателя нужно проверить кабель или провода от пускателя до двигателя.

Если при нажатии кнопки SB3 пускатель не работает, то нужно проверить напряжение на катушке при нажатой кнопке. Напряжение на катушке лучше проверять двухполюсным индикатором, но можно и однополюсным, при этом при напряжении на катушке 380 В проверку нужно производить после отсоединения от катушки одного провода.

При наличии напряжения на катушке нужно проверить исправность катушки. Если катушка исправна, а пускатель не включается, то неисправен пускатель.

Если нет напряжения на катушке, то нужно проверить наличие напряжения на участках цепи управления, при этом предлогается, что все выключатели и реле в цепи управления находятся в рабочем и исправном положении. Сначала можно проверить наличие напряжения на выходе выключателя SA2, потом на кнопках SB4 и SB3, на реле тепловом ККЗ, конечном выключателе SQ, или наоборот, проверять наличие напряжения, двигаясь от катушки пускателя. Если на входе какого-то элемента, например, кнопки SB4, напряжение есть, а на выходе нет, то неисправен этот элемент. Контакты этого элемента обычно или не плотно касаются, или окислились, загрязнились, или между контактами попал мусор, могут быть и поломки деталей крепления контактов.

Вместо проверки напряжения на участках цепи управления можно проверять целость цепи измерением сопротивления мегаомметром, омметром. При целости цепи прибор покажет сопротивление, равное нулю, а при нарушении цепи — сопротивление, большее нуля, и при обрыве цепи — сопротивление, соответствующее наибольшему сопротивлению по шкале прибора.

Целость цепи можно также проверить щупом — двухполюсным прибором, содержащим источник автономного питания (элементы, батарейка) и лампочку. При включении прибора последовательно с участком цепи лампочка загорается при исправном участке этой цепи.

Измерение сопротивлений и проверка щупом производятся при снятом напряжении.

При отсутствии приборов целость участков цепи можно проверить перемычками из провода, присоединяемыми параллельно участкам цепи или контактам приборов или аппаратов. Для безопасности перемычки надо присоединять при отсутствии напряжения. Если участок цепи в других местах исправен, то при наличии перемычки на неисправном месте пускатель включится. После этого перемычка снимается, неисправные прибор или провод заменяются, причем если провод находится в жгуте, то его можно не вынимать из жгута, а отсоединить и вместо него присоединить другой.

Поиск неисправности в электронном устройстве

Поиск неисправности рассмотрим на примере термостата с помощью его структурной и принципиальной схем, которые были представлены ранее (рис. 11.1, 11.2). Поиск причины отказа в электронном устройстве начинается с логических рассуждений при рассмотрении сначала структурной схемы.

На структурной схеме определяются функциональные группы, обозначенные прямоугольниками, которые могут быть причиной отказа. Потом эти группы определяются на принципиальной схеме, где они представлены элементами. Элементы, отказ которых может привести к данному отказу устройства, находятся на платах, в блоках и модулях, которые являются конструктивными частями устройства. При наличии запасных блоков и модулей неисправные могут быть заменены ими, с тем чтобы произвести позднее ремонт отказавших. В данном случае в состав устройства входит только плата, на которой можно проверить все элементы.

Допустим, что отказ заключается в том, что вода не нагревается. Из структурной схемы устройства видно, что все его функциональные группы включены последовательно, значит, отказ любой группы, обозначенной прямоугольником, может привести к отказу устройства.

Начать проверку устройства лучше с проверки наличия напряжения в сети, целости предохранителя, элементов блока питания. Для проверки данного устройства можно применить тестер, содержащий омметр.

При наличии напряжения на выходе блока питания нужно проверить нагревательный элемент и тиристор. При их исправности нужно последовательно проверять систему управления тиристором, схему сравнения, чувствительный элемент, трансформатор.

Неисправность устройства может заключаться в том, что не устанавливается требуемая температура воды или нагрев не отключается. В данном случае нужно проверить и при необходимости заменить переменный резистор R3 или датчик температуры R21.

Отказы при работе некоторых электроустановок

В табл. 11.1 приведены неисправности и отказы некоторых электроустановок. Для понимания принципа работы электроустановок приведены их структурные схемы и краткое описание.

Теплогенераторы

Рассматриваемые теплогенераторы представляют собой устройства для сжигания жидкого топлива с целью подогрева

Таблица 11 .1 ОТКАЗЫ ПРИ РАБОТЕ НЕКОТОРЫХ ЭЛЕКТРОУСТАНОВОК

t1.jpg

Продолжение табл. 11.1

119.jpg

Продолжение табл. 11.1

1110.jpg

Продолжение табл. 11.1

1111.jpg

Продолжение табл. 11.1

1112.jpg

Продолжение табл. 11.1

1113.jpg

Продолжение табл. 11.1

1114.jpg

Продолжение табл. 11.1

1115.jpg

Окончание табл. 11.1

1116.jpg

воздуха или воды. Они имеют камеру сгорания, систему зажигания, состоящую из электродов, трансформатора зажигания и проводов высокого напряжения, систему подачи топлива, частью которой является электромагнитный вентиль и устройство распыления топлива, систему контроля пламени (рис. 11.10).

1117.jpg

Рис. 11.10. Структурная схема теплогенератора.

Электрокалориферы

Наряду с теплогенераторами на жидком топливе используются электрокалориферы, в которых происходит нагрев воздуха при продувании его мимо нагревательных элементов (ТЭН) вентилятором (рис. 11.11).

1118.jpg

Рис. 11.11. Структурная схема электрокалорифера.

Водонагреватели

Водонагреватель представляет собой емкость для воды, в которую вставлен блок ТЭН. Регулирование температуры воды и защита от сухого хода, т. е. от работы без воды, осуществляются с помощью температурного реле, защита от коротких замыканий — предохранителями в пульте управления (рис 11.12).

1119.jpg

Рис. 11 12. Структурная схема водонагревателя.

Электродные котлы

В электродных котлах вода нагревается при прохождении через нее электрического тока между специальными электродами. Котлы могут применяться в замкнутой системе проточной воды для отопления помещений, при этом циркуляцию воды создают насосы. Имеется система регулирования температуры воды и аварийного отключения с помощью электроконтактных термометров (рис. 11.13).

1120.jpg

Рис. 11.13. Структурная схема электродного котла.

Электрокипятильники

Электрокипятильники применяются в местах общественного питания для приготовления кипятка. Их можно назвать электросамоварами с автоматической подачей холодной воды, автоматическим включением и отключением, для чего имеются датчики уровня холодной воды, верхнего и нижнего уровней кипятка (рис. 11.14).

Тельферы

Тельферы служат для подъема и перемещения груза и применяются во многих местах, например, в ремонтных мастерских, в котельных, в сборочных цехах (рис. 11.15).

1121.jpg

Рис. 11.14. Структурная схема электрокипятильника.

1122.jpg

Рис. 11.15. Структурная схема тельфера.

Тельфер состоит из подъемного устройства в виде лебедки, которое закреплено на тележке. Тележка может перемещаться вдоль балки с помощью механизма перемещения, сама балка также может перемещаться с помощью своего механизма вдоль помещения.

Электрооборудование артезианских скважин

Оборудование предназначено для подъема воды из подземных пластов и состоит из насосного агрегата, опущенного на конце трубы в скважину до уровня воды. Скважина укреплена обсадной трубой.

На поверхности в специальном помещении находится аппаратура управления установкой.

Система автоматического управления наружным освещением

В данной системе освещение включается и отключается пускателем, получающим сигнал от промежуточного реле, управляемого сигналом от фотосопротивления (рис. 11.16).

1123.jpg

Рис. 11.16. Принципиальная схема управления наружным освещением с помощью фотореле (типономиналы элементов схемы приведены в прил. 5).